洁净室标准规范
行业解决方案
随机文章选读
联系我们
  • 联系人:董先生
  • 联系电话:137-10902965

净化车间洁净度级别如何确定及计算分析

文章来源://m.capeel.com/  2012年07月23日  点击数:46659


一、净化车间的规格

净化车间的规格一般适用于美国联邦规格No.209B。这个规格对净化间的环境要素即空气洁净度、温湿度、室内压等都进行了规格化规定。但是,伴随着洁净化程度的不断提高,美国联邦规格进行了改版,其内容主要是以洁净度进行分类。最新版已成为No209E,名称也进行了变更。No.209E的级别表示是把0.5um以上的颗粒数为10x个/m3,把X表示成级别,同时加上米制M的意思,表示成M3.5等等。在表7里表示的是美国联邦规格No.209B,表8表示的是美国联邦规格No.209E。在日本,相应的规格是JIS B9920。JIS9920的级别表示是把0.1um以上的颗粒数规定为10的x立方个,用Y表示级别。表9、图2表示了JIS B 9920的级别的主要内容。

洁净度" alt="净化车间洁净度" />

表7  美国联邦规格No.209B

净化间级别

粒子

室内压力Pa

mmH2O

温度

湿度

气流

换气次数

照度

粒径

um

累计粒子数

范围

(℃)

推荐值(℃)

(℃)

(%)

最低

%

误差

%

100


1000


10000


100000

0.5  


0.5

5

0.5

5

0.5

5

100


1000

10

10000

65

100000

700

+13

(+1.3)

以上

19.4—

25

22.2



±2.8

特别时为±1.4

45

30



±10

特别时为±5


层流方式

0.45m/s

±0.1m/s

非层流方式

20次/h


1080--1620



表8  美国联邦规格No.209E的洁净度级别分类

级别上限值是各级别名。上限值用指定粒径以上的浓度(单位堆积粒子数)表示。*

级别名称**

级别上限值

粒径

0.1um

粒径

0.2um

粒径

0.3um

粒径

 0.5um

粒径

5um

SI***

English

Unit

(m3)

(ft3)

(m3)

(ft3)

(m3)

(ft3)

(m3)

(ft3)

(m3)

(ft3)

MI

M1.5   

M2

M2.5

M3

M3.5

M4

M4.5

M5

M5.5

M6

M6.5

M7


1


10


100


1000


10000


100000

350

1240

3500

12000 

35000  

--

--

--

--

--

--

--

--

9.91

35.0

99.1  

350

991

--

--

--

--

--

--

--

--

75.7

265

757

2650

7570

26500  

75700

--

--

--

--

--

--

2.14

7.50

21.4

75.0

214

750   

2140

--

--

--

--

--

--

30.9

106

309

1060

3090

10600  

30900

--

--

--

--

--

--

0.875

3.00   

8.75

30.0

87.5

300

875

--

--

--

--

--

--

10.0

35.3

100

353

1000

3530

10000  35300 

100000

353000

1000000

3530000

10000000

0.283

1.00

2.83

10.0

28.3

100

283

1000

2380

10000

28300

100000  

283000

--

--

--

--

--

--

--

247

618

2470

6180

24700  

61800

--

--

--

--

--

--

--

7.00

17.5

70.0

175

700

1750  

 *上表中表示的级别上限值仅仅是为了级别分类而定义的,并不表示实际的粒径分布值。

**针对中间级别的浓度上限值,用如下的公式进行计算。

  粒子直径/m3=10M(0.5/d)2.2,其中,M : SI单位里的级别名称,D :粒径(um)

***国际单位(Systeme International d’Unites的缩写)


图1,209E的洁净度级别(图略)图中的●标记表示评价洁净度级别用的对象粒子。

()内数值是用English unit表示级别。

图2,JIS B 9920的洁净度级别的上限浓度


表9,JIS B 9920主要内容         

净化间级别表


表10,美国航空宇宙局规格主要内容

生物净化间级别

粒子

生物粒子

室内

压力

Pa

mmH2O


温度℃ 

湿度

%

气流

换气次数


照度

Lx

粒径

um

累计

粒子数

个/ft

(个/l)

浮游量

个/ft

(个/l)

沉降量


100


10000




100000

≥0.5



≥0.5


≥5


≥0.5    


≥5

100

(3.5)


10000

(350)

65(2.3)


100000

(3500)

700(25)

0.1

(0.0035)


0.5

(0.0176)



2.5

(0.0884)

1200

(12900)


6000

(64000)



30000

(323000)



+13

(+1.3)

以上





40

—   

50



层流方式

0.45m/s

±0.1m/s

非层流式

≥20次/h

1080—

1620


二、不同用途所要求的洁净度

如前所述,净化车间的级别一般分成M3.5(100)、M4.5(1000)、M5.5(10000)、M6.5(100000)4个级别。但根据各产业领域的作业工序不同,形成必要的级别是不一样的。例如,在半导体制造工厂等里边,根据作业内容,要求有M1(10)—M5.5(1000)的净化间。而且,在制药工厂里,根据产品的纯度、作业工序,需有从M3.5到M6.5(100,000)范围广泛的级别不等净化间。因此说,各种产业所需要的净化间,其要求的洁净度是不同的。

就一般级别而言,表11可以作为参考。

表11,各产业所要求的净化车间级别一览

领域和产业

洁净度标准(级别)

内容

SI

English unit

半导体工业

(IC、LSI等)

掩模板对准工艺

M3.5

100


刻蚀工艺

M3.5

100

腐蚀加工

扩散工艺

M3.5

100

高纯度扩散

蒸着工艺

M3.5

100

高纯度电镀

涂布工艺

M3.5

100

感光剂涂布

电子设备

计算器制造

M5.5

10,000

磁头

阴极射线管

M5.5

10,000,

遮屏

磁带

M5.5

10,000

防止杂音

精密仪器

陀螺、微型轴承

M5.5

10,000

提高精度

导弹部件、继电器

M5.5

10,000

防止误动作

钟表、小型计量仪器

M5.5

10,000

组立、封装、修理

光学、印刷

照相机、印刷电路板

M5.5

10,000

制作

镜头、胶片

M4.5

1,000

连接

电子制版

M5.5

10,000

制作、检查

化学药品

注射液充填

M3.5

100

调和、充填

无菌动物养育

M3.5

100

SPF

化学药品

抗生物

M5.5

10,000

充填、检查

一般医疗品

M6.5

100,000

制造

食品

酿造、发酵

M5.5

10,000

防止酱油、大酱腐坏

乳制品、生食品

M6.5

100,000

防止酸乳酪变质

食肉加工

M5.5

10,000

火腿、香肠

搅拌(弄成糊状)食品

M5.5

10,000

搅拌后备烤的圆筒形、半圆形鱼肉、鱼肉山芋丸子等食品制冷时防止细菌粘附上。

医疗

手术室

M3.5

100

股关节手术、脏器移植

特殊治疗室

M3.5

100

白血病、烫伤

恢复、新生儿室

M3.5

10,000

早产儿、术后防止感染

临床检查

M5.5

10,000

菌类培植、检查

农林畜产

蘑菇栽培

M5.5

10,000

防止蘑菇种菌被杂菌感染

植物

M6.5

100,000

兰花栽培(试验用无菌植物、强势培植植物)

养殖

M5.5

10,000

防止鱼、蚕类因菌侵袭致死

微生物工程

一般病原体

M3.5

100

马尔堡病毒、拉萨氏热、艾伯拉出血热(排出空气)

基因转换

M3.5

100

大肠菌(排出空气)


三、净化车间的形式分类

作为净化车间的分类方法,一般都是根据室内气流形状来划分的。按这个方法,净化间可大致分为如下三大类。

1, 垂直层流型(降下流方式)

这是一种将HEPA或ULPA过滤器安装在天花板上,从顶板上往下直对地面,能以同样的速度向净化间提供洁净空气的方式。这种设备体积庞大,造价也很昂贵,但作为净化间的性能,无论是从什么方面讲,它都是最好的。

2, 水平层流型(交叉流方式)

这是将HEPA或ULPA过滤器安装在壁板上,从墙壁上向对面墙壁以同样的速度提供洁净空气的一种方式。由于是水平层流,所以,与气流的上流侧相比,下流侧的洁净程度要低一些。但它与垂直层流方式相比的话,具有设备较小,费用较低的特点。

3, 非层流型(常规型)

与上述几种层流形式相比,其设备费用要低廉很多,但由于出现了非层流部分,室

内气流发生紊乱,微粒子浮游在空中,很难保证高的洁净度。

M3.5级(100)及M4.5级(1000)的场合

在洁净度要求达到M3.5级及M4.5级的场合,其大部分都能达到层流型。


垂直层流型(降下气流方式)范例               图3

垂直层流型<a href=洁净室原理图" />


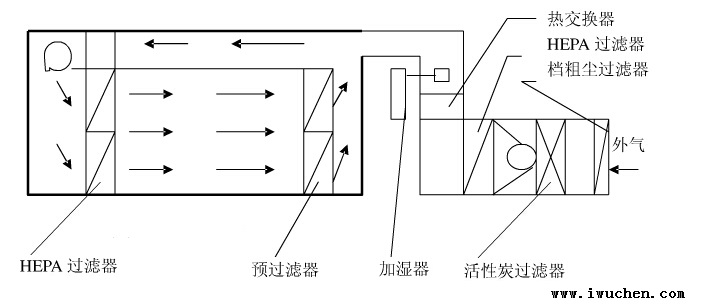
2,水平层流型(交叉流方式)范例       图4

水平层流型洁净室原理图

图注:活性炭过滤器在外气被气体污染的场合下使用。

     在净化车间里湿度的控制也非常重要。建议使用可实施严格控制的阿姆斯特龙公司产的干蒸汽式加湿器。


表12 垂直层流型的概要及特点

概要

特点

吹出口、过滤器位置

天花板(80以上)(图3)

优点:

● 不会被室内的作业人数、作业状态左右,能保证高度的洁净度。

● 由于是垂直层流,换气次数多,所以,在短时间内得到高水准的洁净度。

● 几乎不会发生尘埃堆积,即便是被污染,也能很快恢复。

缺点

● 设备费高

● 运转成本高

● 净化间面积很难扩建

吹入口位置

筛条或孔板(图3)

气流状态

垂直层流

换气次数(气流速度)

250—650次/h0.25m/s左右

温度范围

22℃    ±1—3℃

湿度范围

RH45% ±5-10%

室内外压力差

5-25Pa(0.5—2.5mmH2O)

所需机械室

建筑内装材料

有规定

工程的难易程度

需要很高的技术水平

房间大小的限制

没有特别的要求

房间有效作业面积

能得到很大的面积

作业性

运转经费

管理

实施高水平的管理


表13 水平层流型概要及特征

概要

特点

吹出口、过滤器位置

房间一侧的墙壁上(图4)

优点

● 因涡流、死角等引起的粉尘的堆积、再游离现象很少

● 室内的洁净度不大被作业人员数、作业状态左右。

缺点

● 在距吹出层面较近的地方可以保证有高水平的洁净度,但在距吸引层面较近的地方,洁净度会有所降低。

● 净化间扩建很困难

● 设备费用虽不像垂直型那么高,但仍很贵。

● 柜子、更衣室、风淋等准备室的完善及清扫作业服等要予以充分的注意。


吹入口位置

吹出口对面的墙壁(图4)

气流状态

虽是水平层流,但下侧风流处会逐渐被污染。

换气次数(气流速度)

30—650次/H(0.45m/s)

温度范围

22℃    ±1—3℃

湿度范围

RH45% ±5-10%

室内外压力差

5--25Pa(0.5—2.5mmH2O)

所需机械室

中等

建筑内装材料

有相当部分受限制

工程的难易程度

需水平稍高的技术

房间大小的限制

受限制

房间有效作业面积

受到限制

作业性

人员的移动受到限制

运转经费

中等

管理

稍微需要高水平的管理


5.5级(10,000)及6.5级(100,000)的场合

对于5.5级(10,000)及6.5级(100,000)的净化间,从设备费的角度上考虑,不大使用完全的层流型,而大部分是非层流型。无论是M5.5级(10,000)还是M6.5级(100,000),在设计上没有根本变化,而是根据单位时间内的换气次数,使其发生变化的。

非层流型(常规型)范例 图5    (原文链接://m.capeel.com/a-86/)

非层流型洁净室原理图

图中注解:

* 活性炭过滤器在受到别的气体污染的时候使用。

**在净化车间里,温度控制也非常重要。建议使用可实施严格控制的阿姆斯特龙公司的干蒸汽式加湿器。


表14,非层流行型概要及特征

概要

特征

吹出口、过滤器位置

空调风管前端(图5)

优点:

● 过滤器及空气处理简单且容易

● 设备费用便宜

● 规模扩张方便

● 通过使用净化台,可以得到级别高的洁净度。

缺点

● 室内的洁净度会因作业人员而改变。

● 易产生涡流、乱流,污染粒子在室内有发生循环的可能。

● 由于换气次数少,达到要求的洁净度所需时间较长,动力费用较高

● 柜子、更衣室、风淋室等房间的完备及清扫作业服等要充分注意。

吹入口位置

地板上侧面(图5)

气流状态

产生乱流

换气次数(气流速度)

20—50次/h

温度范围

22℃ ±1—5℃

湿度范围

RH50%±10%

室内外压力差

5—25Pa(0.5—2.5mmH2O)

所需机械室

建筑内装修材料

若干限制

工程的难易度

多少受些限制

室内大小的限制

没有什么限制

房间有效作业面积

受到限制

作业性

对人的移动没有没有制约

运转费用

低廉

管理

管理水准稍高


四、净化车间设计上的留意点

1,净化车间的构成

为确保室内的洁净度,把使用条件、空调的条件等作为最为基本的内容,在考虑到作业性和气流状况后再予以确定。在构造上要有准备室、更衣室、清洗室、休息室、管理室等。

2,清洗方法

作为室内的洁净化气流方式,有垂直层流式、水平层流式、非层流式。其中,到底使用哪一种方式,要根据洁净度的级别及使用条件来决定。

3,洁净度和气流方式

洁净度可通过气流方式和换气次数改变。因而,要根据室内的作业内容、人员及产品的动向决定气流方式。

起尘性高的作业,不得将其置于气流的上侧。而且,根据场合的不同,必须设置排气。

4,构造

净化车间的构造具有气密性、发尘、尘埃堆积少,不易发生振动等是非常重要的,而且,要尽可能地不产生乱流。

5,使用材料

作为内装修材料,须是无缝隙、裂痕,表面不易粘尘,且无磨损、无表面剥离的材料。除此之外,热贯流率、透湿性小、吸音性好,与其他材料接合等加工性能良好也是必不可少的。

6,室内正压

为确保室内的洁净度,防止来自外部的污染粒子进入室内,室内必须保持在正压状态。要想维持室内总是处于正压的状态,就要有能充分的新风,来补足因局部排气、自然泄漏而损失的压力。

7,关联设备

根据需要,净化间里要在入口处设置风淋室,壁板墙上设置物流用的传递箱,以及既能保证正压又能排气的安全风阀挡板等。这些是非常重要的。而这些设备的选定,必须适合净化间。

8,消音装置

由于净化间是密闭的空间,对声音比较敏感,所以,对空气供给系统发生的噪音要实施有效地控制,以改善净化间的作业环境。

9,加湿设备

湿度的调整,在防止静电的影响、创造舒适的作业环境方面,是非常必要的。尤其是在医院、研究室里,保持难以产生微生物的湿度是至关重要的。

10,使用方面的管理

   作为净化间内的发尘源,主要是作业人员、带入室内的物品引起的。因而,对这些要予以充分的注意。除此之外,对各房间的压力平衡、室内墙壁的污染等细微之处也要实施管理。

11,所需设备

根据不同的作业内容,净化间内还要设置相应的给排水、电气、气体设备。这些设备设置要便于使用,而且,由于净化间是密闭的空间,所以必须有火灾、停电等非常状态下的紧急对策。


五、洁净度的计算方法范例

在净化间的设计上,要计算出为确保所要求的洁净度的风量和温湿度调整所需的风量。这里,只是把确保室内洁净度的计算方法列举出来。将室内的发尘量、新风的含尘两量作出假定,根据使用的空气过滤器效率,用下列公式通过换气风量等求出洁净度。

Qr=房间的体积x 1小时的换气次数

C :室内粉尘浓度(个/m3)    Qe:排气风量(m3/h)

Co:外气粉尘浓度(个/m3)    M:室内发尘量(个/h)

Cs:供风粉尘浓度(个/m3)    Pt : 粉尘穿透率(%)

Qr:换气风量(m3/h)         Pf1:预过滤器穿透率(%)

Qo:新风风量(m3/h)         Pf2:主过滤器的穿透率(%)

Qs:斤气风量(m3/h)

● Co的外气粉尘浓度采用前面的表2或表3的0.5um的粒子数。

● P的粉尘穿透率是采用JIS Z8901试验用粉尘13—14种的DOP气溶胶形成的穿过率,用(P=1-捕集率)表示。

● Qo外气风量,要考虑环境卫生环境上规定的、针对给气量及有害物质的局部排气。为使室内形成正压,其所需的风量,由下列公式求出。

● Qr的换气风量是根据洁净度的级别,在表15中考虑作业内容后再作决定。

● 由于M的室内发尘量,根据作业内容的不同而异,所以,在参考表5或表6的作业员发尘量后再作决定。

● 为了对室内的正压进行调整,要安装安全风阀挡板,当压力上升时,使其能排放出去。


表15 针对洁净度级别的换气次数、新风量和使用末端过滤器的效率

洁净度(级)

换气次数(层流)

(次/h)

新风量

(次/h)

使用末端过滤器的效率

SI

English unit

99.97%

99.5%

M3.5

100

250-650

10-20

--

M4.5

1,000

100-200

5-10

--

M5.5

10,000

50-70

2-4

换气次数的增加

○70—90

M6.5

100,000

20-30

1-2

换气次数的增加

○30—50

* 1:试验用尘埃颗粒JIS13种的效率(0.3umDOP)

* 2:试验用尘埃颗粒JIS14种的效率(0.5umDOP)


表16 所需压力差

相应处所

最低压力差

不同级别的净化间之间

5Pa

(0.5mmH2O)

净化间和准净化间

10Pa

(1.0mmH2O)

净化间与一般房间

15Pa

(1.5mmH2O)


国产滤料与进口滤料参数对照表

滤料类型

国产H13玻纤料

进口H13玻纤料

进口U15玻纤料

规格:

300*300*292

300*300*292

300*300*292

外框材质:

304镜面不锈钢

304镜面不锈钢

304镜面不锈钢

分隔物:

铝隔板

铝隔板

铝隔板

密封胶

耐高温无硅胶

耐高温无硅胶

耐高温无硅胶

耐温性

400℃

400℃

400℃

过滤效率:

99.99%@0.3μm

99.99%@0.3μm

99.999%@0.12μm

滤料面积:

5.0m2

5.0m2

5.0m2

额定风量:

550m3/h

550m3/h

270m3/h

初阻力:

180±10Pa

150±10Pa

140±10Pa


滤料类型

国产H13玻纤料

进口H13玻纤料

进口U15玻纤料

规格:

610*305*292

610*305*292

610*305*292

外框材质:

304镜面不锈钢

304镜面不锈钢

304镜面不锈钢

分隔物:

铝隔板

铝隔板

铝隔板

密封胶

耐高温无硅胶

耐高温无硅胶

耐高温无硅胶

耐温性

400℃

400℃

400℃

过滤效率:

99.99%@0.3μm

99.99%@0.3μm

99.999%@0.12μm

滤料面积:

10.3m2

10.3m2

10.3m2

额定风量:

1100m3/h

1100m3/h

550m3/h

初阻力:

180±10Pa

150±10Pa

140±10Pa


原文来源://m.capeel.com/

更多
相关文章:
各国洁净室等级标准和规范

上一条:各国洁净室等级标准和规范下一条:生物安全实验室洁净等级划分标准
首页 | 关于我们 | 解决方案 | 工程案例 | 客户中心 | 1946浼熷痉bet | 1946浼熷痉 | 1946浼熷痉澶囩敤缃戝潃
深圳、佛山、东莞、中山、江门、惠州、广州净化工程公司|无尘车间|洁净室|无尘室|净化车间|净化厂房|洁净厂房|洁净车间|洁净棚|GMP车间|GMP厂房等空调洁净工程施工及服务
拓展阅读:10万级净化车间标准|实验动物房|中央厨房|洁净室换气次数|洁净手术室规范|GMP洁净度等级|食品生产卫生规范|洁净厂房施工要点|无尘车间着装规范
Copyright © 2012-2018
Baidu
map